Porsche a depus un brevet pentru o caroserie cu schimbare automată a culorii în modul Sport
21 aprilie 2026 · 4 min de citire

Brevet Porsche: caroserie cu schimbare de culoare în modul Sport
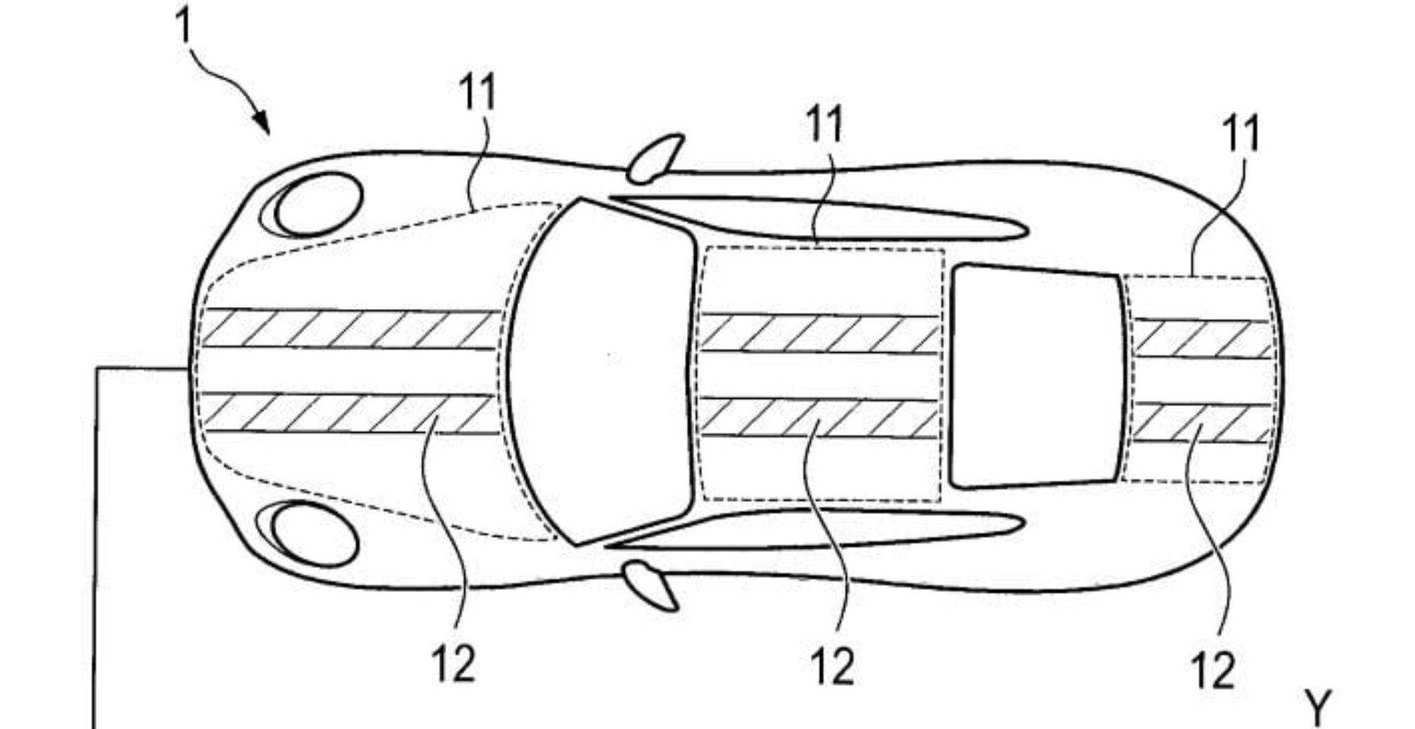
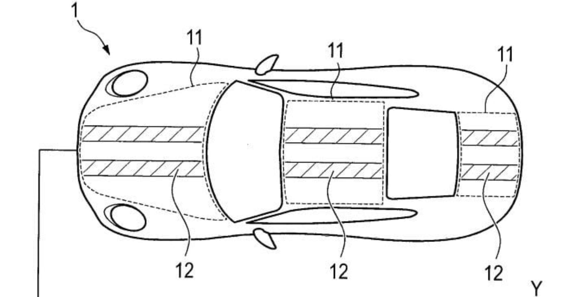
Porsche, unul dintre cei mai inovatori producători din industria auto, pare să pregătească o revoluție vizuală pentru modelele sale viitoare. O serie de cereri de brevet depuse recent la Organizația Mondială a Proprietății Intelectuale (WIPO) dezvăluie un sistem futurist ce permite caroseriei vehiculului să își schimbe culoarea sau să afișeze anumite elemente de design la cerere. Tehnologia folosește un film electroforetic, similar cu cel folosit în afișajele electronice de tip e-ink, transformând astfel exteriorul mașinii într-un „tablă” dinamică.
Cum funcționează tehnologia Porsche?
Spre deosebire de vopseaua tradițională, care este fixă și menită să ofere un aspect permanent, noul sistem al celor de la Porsche utilizează un strat special aplicat pe suprafața caroseriei. Acest film electroforetic include particule încărcate electric, a căror poziție poate fi modificată prin impulsuri electrice. Astfel, culorile și modelele vizibile se pot regla instantaneu, iar anumite elemente de design pot să apară sau să dispară din câmpul vizual, în funcție de modul ales șoferului.
O formă concretă a acestei tehnologii este capacitatea de a evidenția în modul Sport liniile specifice, traversează lungimea caroseriei Porsche. Aceste linii nu sunt vizibile în mod normal, dar atunci când mașina trece în modul Sport, ele „prind viață” și apar ca o componentă activă a designului, subliniind astfel caracterul dinamic și sportiv al mașinii.
Avantajele și perspectivele noii tehnologii
Această inovație nu este doar o simplă schimbare estetică, ci are potențialul de a redefini felul în care o mașină comunică cu mediul înconjurător și cu șoferul. Iată câteva dintre beneficiile anticipate:
- Personalizare instantanee: Proprietarii vor putea schimba aspectul mașinii după preferințe sau starea de spirit, fără a fi nevoie de o re-vopsire costisitoare sau timp îndelungat la service.
- Funcționalitate sporită: În afară de secvențele sportive, pot fi afișate și alte mesaje, simboluri sau chiar informări legate de starea vehiculului, transformând caroseria într-un veritabil afișaj informațional.
- Aerodinamică adaptabilă: Apariția și dispariția anumitor componente vizuale pot interacționa cu aerodinamica, sporind performanța atunci când este nevoie.
- Reducerea costurilor și impactului ecologic: Tehnologia electroforetică este un pas înainte în direcția unor soluții sustenabile, reducând consumul de materiale și intervențiile asupra caroseriei.
O provocare tehnologică și un pas spre viitor
Deși brevetul Porsche nu semnalează un debut iminent pe piață, el marchează un punct de cotitură în dezvoltarea automobilelor de lux hi-tech. Implementarea practică a acestei tehnologii va trebui să depășească provocări majore, precum durabilitatea filmului electroforetic în condiții extreme (rază UV, temperaturi variabile, zgârieturi), precum și integrarea electronică fără să afecteze siguranța sau greutatea vehiculului.
Cu toate acestea, în contextul actual al concurenței acerbe între constructorii auto, inovarea vizuală devine o piesă esențială în atragerea clienților exclusiviști. Porsche, salutată întotdeauna pentru respectul față de tradiție, pare că se aventurează curajos în zona experiențelor personalizate și inteligente pe patru roți.
Impactul asupra industriei auto din România
Piața auto din România, în care pasionații apreciază în special modelele sport și de lux, ar putea fi un teren propice pentru o astfel de tehnologie în anii următori. Proprietarii de Porsche și alte mărci premium vor putea beneficia de mașini care nu doar se conduc spectaculos, ci și impresionează vizual la un nivel fără precedent.
Dealerii auto vor trebui să se adapteze rapid pentru a oferi clienților posibilitatea personalizării dinamice și, totodată, să asigure service specializat pentru aceste suprafețe inteligente. Este de așteptat, de asemenea, ca unele firme locale din domeniul detailingului auto să exploreze noi metode de întreținere și protecție a acestor tehnologii.
Concluzie
Brevetul Porsche privind caroseria care își schimbă culoarea în modul Sport nu este doar o idee futuristă, ci o dovadă clară a direcției în care industria auto se îndreaptă: spre integrarea tehnologiilor inteligente care transformă mașina într-un obiect dinamic și personalizat complet. Acest pas avantgardist poate deschide o nouă eră în designul auto, în care funcționalitatea și estetica se combină perfect pentru a oferi experiențe unice.
Până când vom vedea această tehnologie pe șosele, putem doar să anticipăm entuziasmați cum se pot schimba regulile jocului în materie de design auto, iar Porsche demonstrează încă o dată că inovația este motorul care alimentează pasiunea și performanța.
Articol realizat pentru pasionații de automobilism și inovații tehnologice din România. Pentru cele mai noi informații și știri auto, rămâi aproape de blogul nostru.





